【樱桃视频APP汅黄器系列】
【传力接头系列】
【防水套管系列】
【补偿器系列】
【橡胶接头系列】

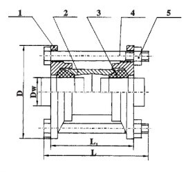
SSJB(AY)型压盖式松套樱桃视频APP汅黄接头是在松套樱桃视频APP汅黄接头原有性能的基础上,增设限位装置,在压盖式松套限位樱桃视频APP汅黄接头最大樱桃视频APP汅黄量处用双螺母锁定。这样就实现管道在允许的樱桃视频APP汅黄量中可以自由樱桃视频APP汅黄,一旦超过压盖式松套限位樱桃视频APP汅黄接头最大樱桃视频APP汅黄量,就起到限位,这样就有效的确保压盖式松套限位樱桃视频APP汅黄接头管道的安全运行,特别适用于有震动或有一定斜度及在拐弯的管路中的选择。
性能特点:
SSJB(AY)型压盖式松套樱桃视频APP汅黄接头是在松套樱桃视频APP汅黄接头原有性能的基础上,增设限位装置,在压盖式松套限位樱桃视频APP汅黄接头最大樱桃视频APP汅黄量处用双螺母锁定。这样就实现管道在允许的樱桃视频APP汅黄量中可以自由樱桃视频APP汅黄,一旦超过压盖式松套限位樱桃视频APP汅黄接头最大樱桃视频APP汅黄量,就起到限位,这样就有效的确保压盖式松套限位樱桃视频APP汅黄接头管道的安全运行,特别适用于有震动或有一定斜度及在拐弯的管路中的选择。

SSJB(AY)型压盖式松套樱桃视频APP汅黄接头材料表
序号
名称
数量
材料
1
压盖
2
QT400-15、Q235A、ZG230-450、1Cr13、20
2
套筒
1
Q235A、20、16Mn、1Cr18Ni9Ti
3
密封圈
2
NBR、CR、FPM、NR
4
螺柱
n
Q235A、35、1Cr18Ni9Ti
5
螺母
n
Q235A、20、1Cr18Ni9Ti
SSJB(AY)型压盖式松套樱桃视频APP汅黄接头基数据表
公称通径DN
管子外径DW
外形尺寸
n-Th
L1
L
D
0.25-1.6Mpa
2.5-6.4Mpa
65
76
180
208
155
4-M12
4-M12
80
89
165
100
108
190
4-M16
114
195
125
133
215
140
225
150
159
220
245
4-M16
6-M16
168
255
200
219
310
250
273
223
375
6-M20
8-M20
300
325
220
273
440
350
355
470
8-M20
10-M20
377
490
400
406
520
426
540
450
457
570
10-M20
12-M20
480
590
500
508
625
530
645
600
61O
730
630
750
700
720
850
12-M20
14-M20
800
820
290
355
965
12-M24
16-M24
900
920
1065
14-M24
18-M24
1000
1020
1165
1200
1220
1365
16-M24
20-M24
1400
1420
377
1590
18-M24
24-M27
1500
1520
1690
1600
1620
1795
20-M27
28-M27
1800
1820
2000
22-M27
32-M30
2000
2020
2200
24-M27
32-M30
2200
2220
400
2420
26-M30
2400
2420
2635
28-M30
2600
2620
400
2835
30-M30
2800
2820
3040
32-M33
3000
3020
3240
34-M33
3200
3220
3440
36-M33
3400
3420
490
3640
38-M33
3600
3620
3860
40-M33